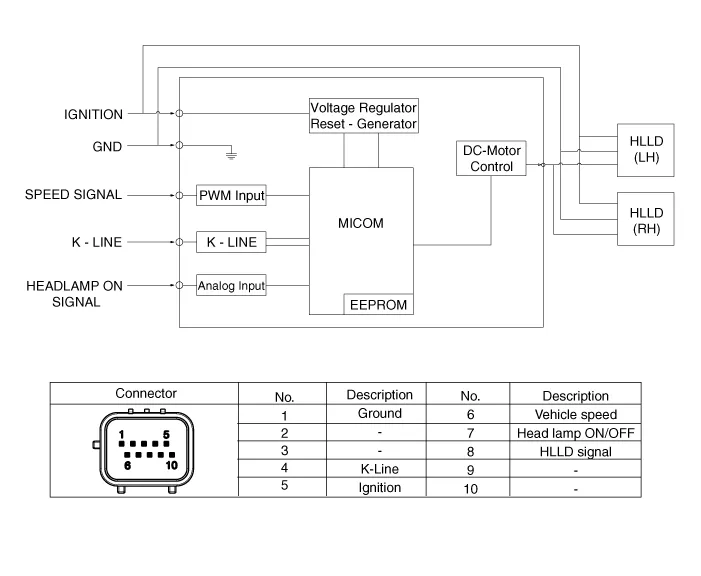
| Circuit Diagram |

Component Location 1. Head lamp leveling unit and sensor2. Head lamp leveling actuator
Description According to driving environment and loading state of vehicle, head lamp lighting direction is changed to keep the driver''s visibility range and to protect the driver''s vision from glare, aiming at safety driving.
C
Diagnosis With GDS 1. BSD system defects can be quickly diagnosed with the GDS. GDS operates actuator quickly to monitor, input/output value and self diagnosis. 2. Connect the cable of GDS to the data link connector in driver side crash pad lower panel, turn the power on GDS.